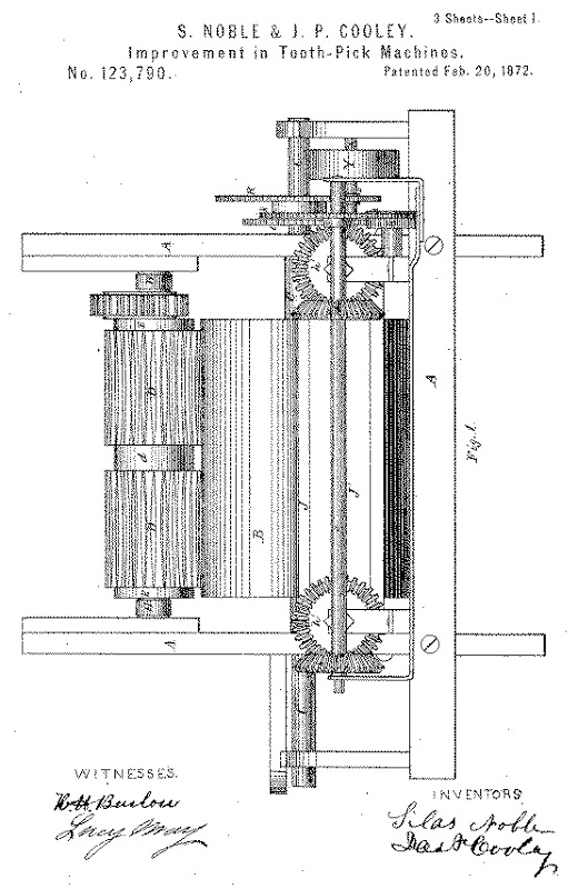
1872 г. — машина для производства зубочистокЭта запись с тегом История стоматологии и размещен 18.05.2016 В 1872 году Силас Нобель (Silas Noble) и J.P. Cooley (Дж.П. Кулей) запатентовали первую машину для производства зубочисток. Машина для производства зубочисток. Поделиться в: